联系电话:
0551-63495066
产品概述
三合一止回阀具有截止、止回、节流三种功能。主要用于水泵出口或其它防止液体倒流的管道,可有效的防止普通止回阀液体倒流时产生的水锤冲击和噪音。适用于在一般建筑、公寓及工厂的供排水、冷暖水处理及锅炉的冷凝水,二次供水管道的泵出口上,用来防止泵停止运转而引起的管道内的介质倒流。
产品特点
1、泵停止运转时,弹簧力先合上阀瓣,因而防止水锤。
2、通过调节开度,可以调节泵的输出量。
3、装有指示器,可以用眼睛确认阀门的开启度。
4、密封垫用丁腈橡胶制作,因而根本不会泄漏,可以吸收冲力。
5、弹簧是用不锈钢制作,因而具有很强的耐蚀性。
6、可节约水量的设备材料和费用,缩小安装空间。
7、由于形状和结构高等成流线型,因而压降很小。
8、由于起到旁道作用,所以其有回收出口侧管道内水的功能,而且在进口侧出现真空时,补充引水。
9、水平管道,垂直管道上均可安装。

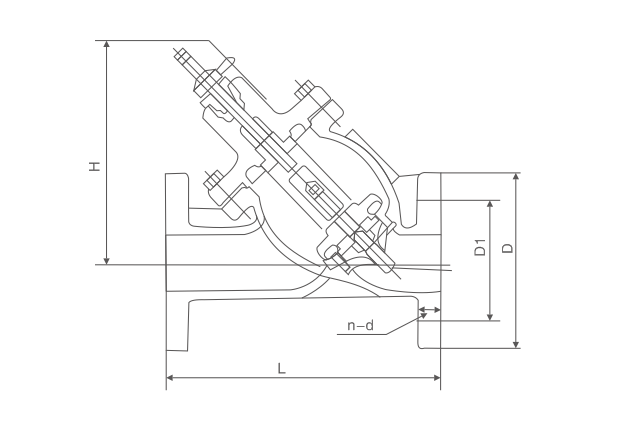
主要外形尺寸
DN | L | H | D | D1 | D2 | |||||||
1.0MPa | 1.6MPa | 2.5MPa | 1.0MPa | 1.6MPa | 2.5MPa | 1.0MPa | 1.6MPa | 2.5MPa | ||||
50 | 205 | 293 | 165 | 165 | 165 | 125 | 125 | 125 | 4-18 | 4-18 | 4-18 | |
65 | 215 | 328 | 185 | 185 | 185 | 145 | 145 | 145 | 4-18 | 4-18 | 8-18 | |
80 | 250 | 364 | 200 | 200 | 200 | 160 | 160 | 160 | 8-18 | 8-18 | 8-18 | |
100 | 320 | 418 | 220 | 220 | 235 | 180 | 180 | 190 | 8-18 | 8-18 | 8-22 | |
125 | 365 | 481 | 250 | 250 | 270 | 210 | 210 | 220 | 8-18 | 8-18 | 8-22 | |
150 | 415 | 380 | 543 | 285 | 285 | 300 | 240 | 240 | 250 | 8-22 | 8-22 | 8-26 |
200 | 500 | 450 | 673 | 340 | 340 | 360 | 295 | 295 | 310 | 8-22 | 12-22 | 8-26 |
250 | 600 | 540 | 792 | 395 | 405 | 425 | 350 | 355 | 370 | 12-22 | 12-26 | 12-26 |
300 | 680 | 600 | 927 | 445 | 460 | 485 | 400 | 410 | 430 | 12-22 | 12-26 | 12-30 |
350 | 780 | 635 | 957 | 505 | 520 | 555 | 460 | 470 | 490 | 16-22 | 16-26 | 16-33 |
400 | 860 | 700 | 1188 | 565 | 580 | 620 | 515 | 525 | 550 | 16-26 | 16-30 | 16-36 |
450 | 920 | 780 | 1218 | 615 | 640 | 670 | 565 | 585 | 600 | 20-26 | 20-30 | 20-36 |
500 | 980 | 810 | 1256 | 670 | 715 | 730 | 620 | 650 | 660 | 20-26 | 20-33 | 20-36 |
600 | 1100 | 900 | 1600 | 780 | 840 | 725 | 770 | 20-30 | 20-36 | |||
700 | 1450 | 980 | 1750 | 895 | 910 | 840 | 840 | 24-30 | 24-36 | |||
800 | 1650 | 1120 | 1900 | 1015 | 1025 | 950 | 950 | 24-33 | 24-39 | |||
900 | 1800 | 1220 | 2100 | 1115 | 1050 | 28-33 | ||||||
1000 | 2000 | 1320 | 2400 | 1230 | 1160 | 28-36 | ||||||













